ATEMM® H-ESD - novost za avtomobilsko industrijo

Inovativni izdelek ATEMM® H-ESD, vgrajen v varnostnem pasu vozila, odvaja statično elektriko z oseb med vožnjo. Namenjen je za prvo vgradnjo v avtomobilski industriji.
ATEMM® H-ESD preprečuje nastanek in preskok iskre ob dotiku oseb v vozilu in ob zapiranju vrat vozila, ko stopimo iz vozila. Omogoča varnejšo, prijetnejšo in sproščeno vožnjo z manj stresa.

Zakaj čutite nelagodje:
Oseba se pri vožnji v vozilu s suhim zrakom naelektri s pozitivnim ali negativnim nabojem, odvisno od materiala sedežev, oblačil in obutve. Ob dotiku ozemljenega predmeta ali osebe, pride do razelektritve z neprijetnim preskokom iskre ali z rahlim srbenjem na površini kože. Elektrostatični naboj je nepredvidljiv naravni pojav, ki se najpogosteje dogaja v zimskem času. Naelektrimo se vsakič, ko se premikamo na sedežu vozila, ob drgnjenju z oblačili ali ob dotiku druge osebe.
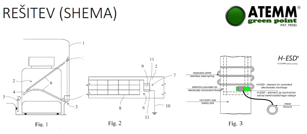
ATEMM® za večjo varnost in bolj sproščeno vožnjo
Pri našem zadnjem projektu, za odvajanje statične elektrike z oseb v vozilu smo uporabili najnovejši element ATEMM® H-ESD. To nam omogoča, da se osebe pripete z varnostnim pasom, ki ima vgrajen element ATEMM® H-ESD, stalno nečuteče razelektrijo.

Poglejte video prikaz uporabe ATEMM® H-ESD v avtomobilu.

ATEMM® green point ploščica
Podjetje ATEMM d.o.o. je razvilo in proizvaja material ATEMM® iz katerega izdeluje ATEMM® green point ploščice za odvod statične elektrike. Vgradnja v avtomobil ne zahteva strokovnega znanja.
ATEMM® green point ploščico namestimo lahko ob kljuko vrat na zunanjo stran avtomobila, ki ima prevodni lak, ali na notranjo stran, volan ali prestavno ročico. Tako se lahko, preden primemo kljuko vozila, s pritiskom na ATEMM ploščico razelektrimo in brez preskoka iskre odpremo vrata. Prav tako se lahko v vozilu, ob menjavanjem prestavne ročice ali vrtenjem volana, stalno odvajamo statično elektriko in ne pride do preskoka iskre. Med vožnjo z avtomobilom se boste, brez neprijetnih razelektritev, počutili bolj sproščeno.
Uporaba:
Uporaba je zelo enostavna. Potrebno je samo pritisnitii zeleno ploščico ATEMM® in vaše telo se bo znebilo električnega naboja, ki slabo vpliva na vaše počutje. Če je ATEMM® nameščen na volan ali na prestavno ročico vozila, trenutno tega modela še ni v prosti prodaji, pa se telo med vožnjo sproti razelektri.
Montaža:
Montaža ploščice ATEMM je zelo preprosta saj jo samo prilepimo na suho razmaščeno ozemljeno površino, kjer nas običajno strese statična elektrika.

Video prikaz uporabe ATEMM® green point ploščice v avtomobilu.









