
Il prodotto innovativo ATEMM® H-ESD ntegrato nelle cincture di sicurezza dei veicoli rimuove l’elettricità static dalle persone mentre guidano. È pendsato come prima installazione nei veicoli. Il ATEMM® H-ESD previene gli schock static quando si viene toccati da una persona in un veicolo e nel chiudere la porta del veicolo dopo averlo usato. Fornisce una corsa più sicura, più confortevole e rilassata.

In base al materiale dei sedili, dai vestiti e dalle scarpe, una persona si può caricare di energia positiva o negativa mentre guida un veicolo con aria secca. Toccare oggetti a terra o persone produrrà una scarica con uno schock statico o un leggero pizzicore della pelle. La carica elettrostatica è un fenomeno natural imprevedibile che avviene soprattutto in inverno. Ci carichiamo ogni volt ache ci muoviamo sul sedile del veicolo, strofinando i vestiti o toccando un’altra persona.
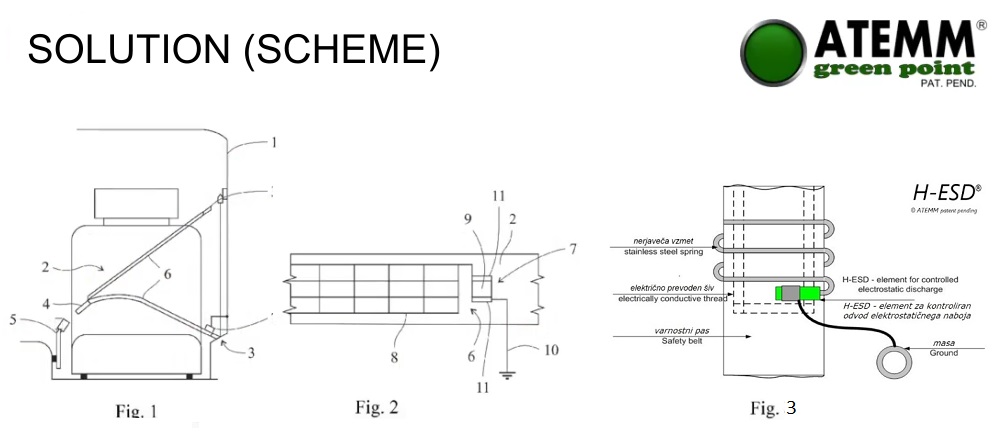
Nel nostro ultimo progetto abbiamo usato elementi ATEMM® H-ESD per eliminare l’elettricità statica dai veicoli. Questo consente alle persone, grazie alla cintura di sicurezza predisposta con ATEMM® H-ESD un continuo scarico impercettibile dell’elettricità static.


ATEMM d.o.o. ha sviluppato e produce i materiali ATEMM® dai quali sviluppa ATEMM® green point cuscinetti per eliminare in modo impercettibile delle scariche statiche.
ATEMM® green point cuscinetto possono essere attaccati alla maniglia della portiere all’esterno del veicolo che ha una vernice conduttiva o al suo interno, sul cambio o sul volante. In questo modo potrai eliminare le scariche statiche premendo sul tampone ATEMM cuscinetti e aprendo la porta senza uno schock statico. È anche possibile scaricare continuamente nel veicolo cambiando le marce o girando il volante senza schock. Ti sentirai pi Rilassato senza il fastidioso scarico dell’elettricità statica quando guidi.
È davvero facile da usare. Tutto quello che devi fare è schiaccciare il ATEMM® green point cuscinetto, e il tuo corpo sarà libero dalle cariche statiche che provocano un effetto negatico sul tuo benessere. Il modello da fissatare al cambio o al volante non è ancora disponibile al momento, il tuo corpo si scarica continuamente durante la guida.
L’istallazione dei ATEMM® green point cuscinetto è molto semplice. Basta attaccare ad una superfice asciutta e liscia sulla quale normalmente provate le scosse elettriche.


ATEMM d.o.o. è una compagnia innovativa nel campo delle tecnologie di scarico dell’elettricità statica umana. Siluppiamo e realizziamo soluzioni innovative per una vita in salute, confortevole e sicura. Siamo un membro nel Global Chamber of Business Leaders.